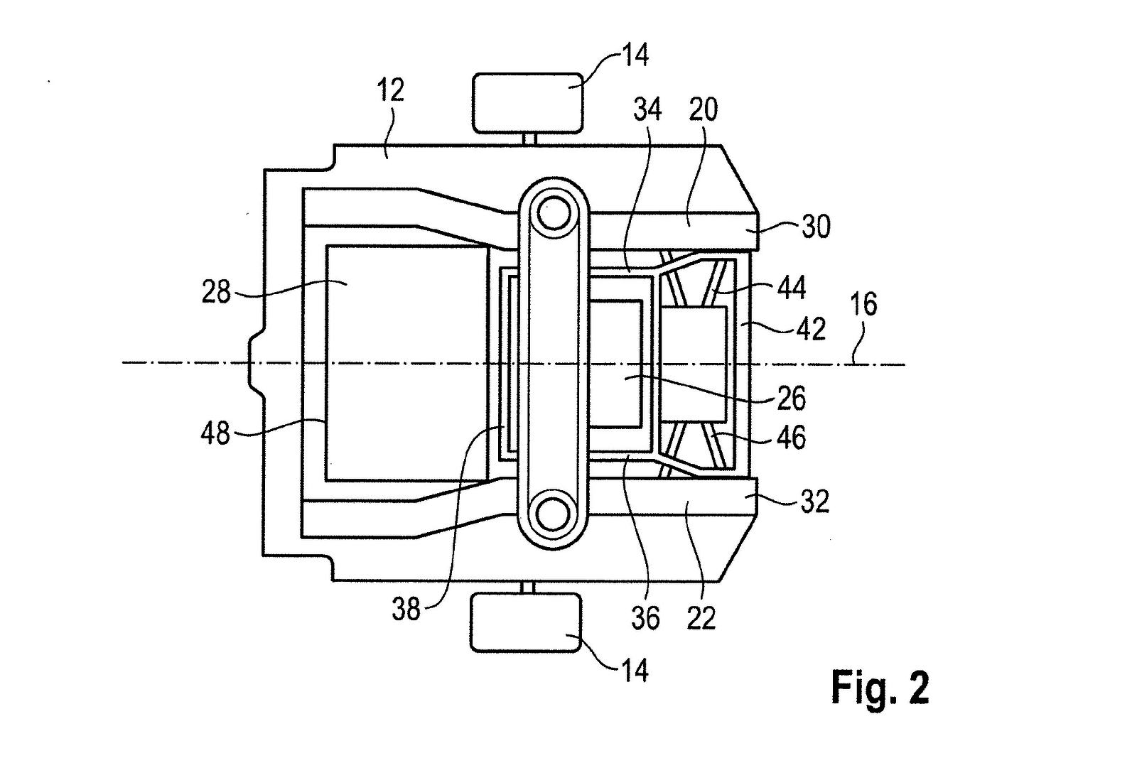
Suzuki's AllGrip vierwielaandrijving technisch bekeken: robuust en onderhoudsvriendelijk
De Suzuki Swift AllGrip is in Nederland geen verkoopkanon, maar elders in Europa is het een van de bestverkochte modellen van Suzuki. Mede door die vierwielaandrijving. We duiken in de techniek van AllGrip.








