Herleeft 2-takt bij Honda?

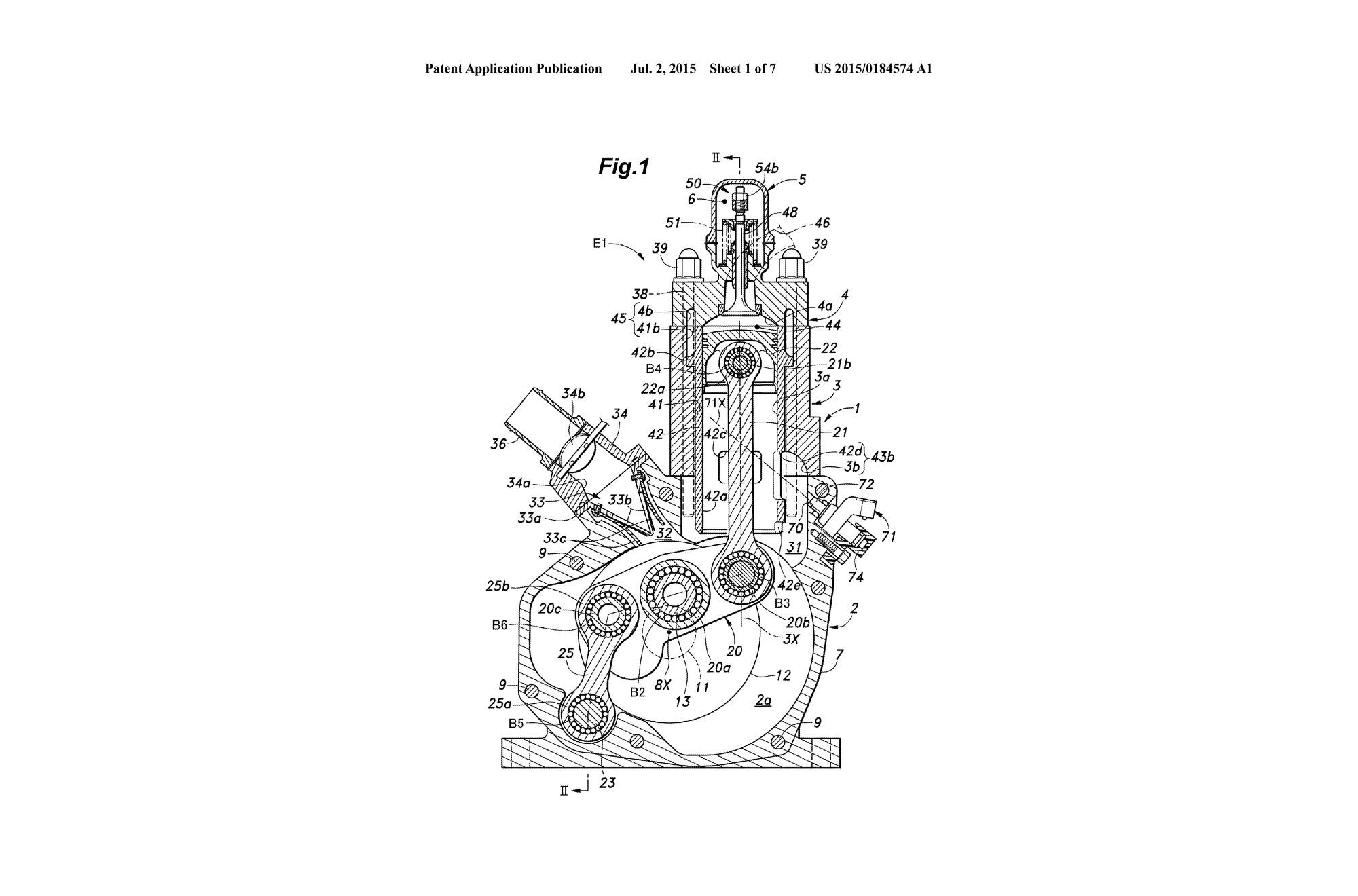
En tóch blijft het trekken, de simpele opbouw van een tweetakt. Licht, goedkoop, hoge prestaties. Maar hoe doe je dat met smering, en voorkom je de beruchte vastlopers? Een nieuw patent van Honda technici biedt een hoogst originele oplossing. Wedergeboorte voor de tweetakt, zou het kunnen?

Log in of maak een gratis account aan om dit artikel te lezen.

Log in of maak een gratis account aan om dit artikel te lezen.